电磁流量计 杭州美控自动化技术有限公司
咨询热线: 15064847631
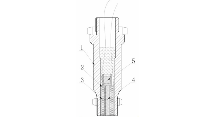
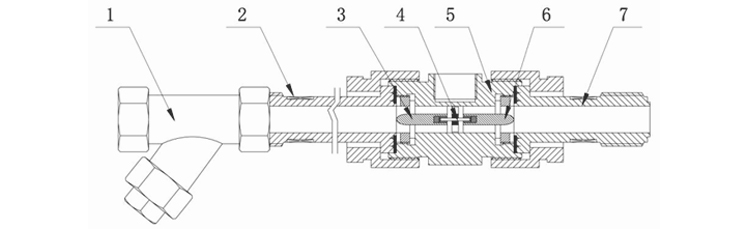
美控LWGY-MIK液体涡轮流量计

美控LWGY-MIK液体涡轮流量计


咨询热线:15064847631(微信同号)


美控自动化展厅
美控自动化荣誉墙
美控工厂实拍
电磁流量计标定装置
美控仪表生产线
美控与顺丰长期合作
美控荣誉
美控质量管理认证
美控荣誉证书
美控典型用户




杭州美控自动化技术有限公司 更多详情
杭州美控自动化技术有限公司 关注微信公众号
15064847631
公司总机:0532-83711631
QQ:745707276
电磁流量计代理商-青岛华鲁恒生自动化有限公司
公司地址:山东省青岛市市北区台柳路133号逸轩商务楼B座七层